龙虎榜丨东港股份今日跌停,上榜营业部合计净卖出1.33亿元
2025年01月16日 21:08
来源: 界面新闻
东方财富APP

方便,快捷

手机查看财经快讯

专业,丰富

一手掌握市场脉搏

手机上阅读文章

提示:

微信扫一扫

分享到您的

朋友圈


K图 002117_0

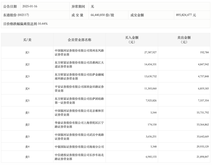
  1月16日,东港股份今日跌停,龙虎榜数据显示,上榜营业部席位全天成交3.04亿元,占当日总成交金额比例为33.99%。其中,买入金额为8553.03万元,卖出金额为2.19亿元,合计净卖出1.33亿元。

  具体来看,中国银河证券北京雍和宫证券营业部、华泰证券上海普陀区江宁路证券营业部分别卖出5575.18万元、5356.49万元;中国银河证券郑州东风路证券营业部、东方财富证券昌都两江大道证券营业部分别买入2738.79万元、1445.43万元。

(文章来源:界面新闻)

文章来源:界面新闻 责任编辑:3
原标题:龙虎榜丨东港股份今日跌停,上榜营业部合计净卖出1.33亿元
郑重声明:东方财富发布此内容旨在传播更多信息,与本站立场无关,不构成投资建议。据此操作,风险自担。
举报
分享到微信朋友圈

打开微信,

点击底部的“发现”

使用“扫一扫”

即可将网页分享至朋友圈

扫描二维码关注

东方财富官网微信


扫一扫下载APP

扫一扫下载APP
信息网络传播视听节目许可证:0908328号 经营证券期货业务许可证编号:913101046312860336 违法和不良信息举报:021-61278686 举报邮箱:jubao@eastmoney.com
沪ICP证:沪B2-20070217 网站备案号:沪ICP备05006054号-11 沪公网安备 31010402000120号 版权所有:东方财富网 意见与建议:4000300059/952500