央企战略性新兴产业发展基金公司登记成立 注册资本510亿
2025年10月29日 15:00
来源: 财联社
东方财富APP

方便,快捷

手机查看财经快讯

专业,丰富

一手掌握市场脉搏

手机上阅读文章

提示:

微信扫一扫

分享到您的

朋友圈

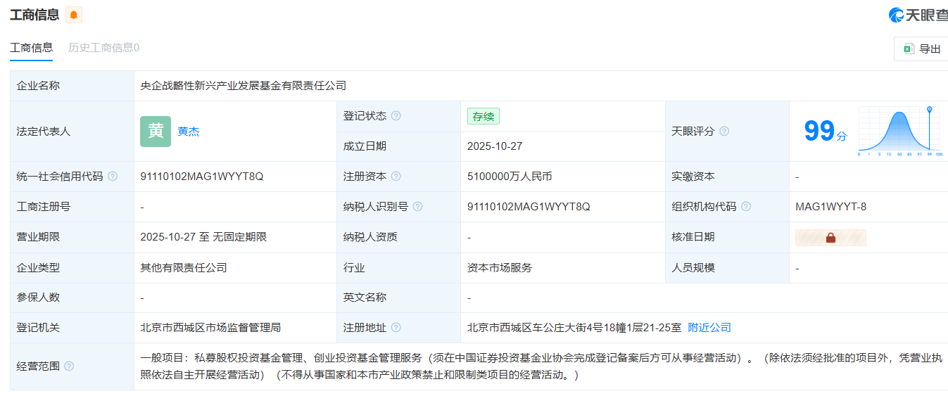
  财联社10月29日讯,天眼查App显示,央企战略性新兴产业发展基金有限责任公司近日成立,法定代表人为黄杰,注册资本510亿人民币。

image

  公司经营范围为私募股权投资基金管理、创业投资基金管理服务。

  由中国国新控股有限责任公司、北京金融街资本运营集团有限公司、中移资本控股有限责任公司、中国石化集团资本有限公司、中国石油集团昆仑资本有限公司、中国电信集团投资有限公司等共同持股。

image

(文章来源:财联社)

文章来源:财联社 责任编辑:43
原标题:央企战略性新兴产业发展基金公司登记成立 注册资本510亿
郑重声明:东方财富发布此内容旨在传播更多信息,与本站立场无关,不构成投资建议。据此操作,风险自担。
举报
分享到微信朋友圈

打开微信,

点击底部的“发现”

使用“扫一扫”

即可将网页分享至朋友圈

扫描二维码关注

东方财富官网微信


扫一扫下载APP

扫一扫下载APP
信息网络传播视听节目许可证:0908328号 经营证券期货业务许可证编号:913101046312860336 违法和不良信息举报:021-61278686 举报邮箱:jubao@eastmoney.com
沪ICP证:沪B2-20070217 网站备案号:沪ICP备05006054号-11 沪公网安备 31010402000120号 版权所有:东方财富网 意见与建议:4000300059/952500