3月24日,上证指数、深证成指、创业板指、科创50指数早盘窄幅震荡,午后震荡下探,尾盘探底回升。截至收盘,上证指数报3370.03点,涨0.15%,成交额5867.45亿元;深证成指报10695.49点,涨0.07%,成交额8639.94亿元;创业板指报2152.55点,涨0.01%,成交额4002.25亿元;科创50指数报1045.94点,涨0.29%,成交额1016.78亿元。沪深两市合计成交14507.39亿元,成交额较上一交易日减少1001.17亿元。
盘面上来看,行业板块、概念跌多涨少。其中,有色金属、保险、家电、银行、煤炭等行业涨幅靠前;海工装备、可燃冰、钛白粉、低碳冶金、冰雪经济、在线旅游等概念走势活跃。计算机、房地产、国防军工、纺织服装、轻工制造、环保、教育、建筑材料等行业跌幅居前;赛马、人脑工程、全息技术、地热能、东数西算、国资云、水产养殖、碳纤维、轮毂电机等概念走势较弱。涨停个股主要集中在机械设备、化工、环保、社会服务、电力设备等行业。
个股涨跌情况,截至收盘,沪深两市合计1263只个股上涨,3789只个股下跌,平盘个股71只,停牌的个股14只。不含当日上市新股,共有54只个股涨停,53只个股跌停。
从收盘涨停板封单量来看,振华重工最受追捧,收盘涨停板封单有4696.1万股;其次是太阳电缆、华西能源、炬申股份、佛山照明、奋达科技、卧龙电驱等,涨停板封单分别有3062.73万股、2428.63万股、2164.96万股、1545.85万股、1519.17万股、1451.74万股。
以涨停板封单金额计算,10股封单金额超1亿元。其中,炬申股份涨停板封单资金最多,涨停板封单资金为4.39亿元;其次是卧龙电驱、振华重工、太阳电缆、奋达科技、佛山照明、华西能源等,涨停板封单资金分别为4.26亿元、2.54亿元、2.13亿元、1.39亿元、1.32亿元、1.24亿元。

从连续涨停天数来看,连续涨停天数大于或等于2天的个股有14只,其中,ST柯利达连收6个涨停板,连续涨停板数量最多;其次是雪龙集团5连板;大连重工、东珠生态均4连板;邵阳液压、振华重工、亚星锚链均3连板;炬申股份、太阳电缆、先锋电子、南方路机、中信重工等7股均2连板。
沪深两市主力资金净流出591.79亿元 4个行业主力资金呈现净流入
Wind统计显示,沪深两市主力资金今日净流出591.79亿元。其中,创业板主力资金净流出232.98亿元,沪深300成份股主力资金净流出46.12亿元,科创板主力资金净流出31.3亿元。
从行业来看,申万所属的31个一级行业,今日仅有有色金属、银行、社会服务、钢铁4个行业主力资金呈现净流入,净流入金额分别为10.8亿元、1.46亿元、0.43亿元、0.41亿元。27个行业主力资金呈现净流出,其中,计算机行业主力资金净流出最多,净流出金额为132.06亿元;行业主力资金净流出靠前的还有机械设备、电子、汽车、通信、国防军工等,净流出金额分别为105.52亿元、48.8亿元、44.76亿元、44.55亿元、42.76亿元。
尾盘主力资金净流入来看,有26个行业获尾盘主力资金净流入,其中,电力设备行业尾盘主力资金净流入最多,净流入金额为14.9亿元;其次是电子、机械设备、计算机、家用电器、汽车、通信、非银金融等行业,尾盘主力资金净流入均超3亿元。

40股获主力资金净流入超亿元尾盘主力资金抢筹卧龙电驱等
个股来看,今日有1528个股获主力资金净流入,其中,40股获主力资金净流入超1亿元。卧龙电驱主力资金净流入最多,净流入金额为8.84亿元;主力资金净流入居前的个股还有奋达科技、矽电股份、湖北宜化、新易盛、洛阳钼业等,净流入金额分别为8.67亿元、5.7亿元、5.06亿元、4.77亿元、3.88亿元。
尾盘主力资金净流入来看,有24股获尾盘主力资金净流入超5000万元,其中,卧龙电驱尾盘主力资金净流入最多,净流入金额为7.31亿元;其次是奋达科技、佛山照明、精达股份、亨通光电、浪潮信息、天海防务等,尾盘主力资金净流入分别为1.23亿元、1.06亿元、8813.67万元、8651.7万元、7957.74万元、7531.03万元。

165股被主力资金净卖出超亿元
今日有3595只个股被主力资金净卖出,其中,165股被主力资金净卖出超1亿元。主力资金净流出最多的个股是润和软件,净流出金额为6.32亿元;主力资金净流出居前的个股还有东方财富、三维通信、中信重工、中兴通讯、浙大网新等,净流出金额分别为6.31亿元、5.88亿元、5.83亿元、5.49亿元、5.2亿元。
尾盘主力资金净卖出来看,有20股被尾盘主力资金净卖出超2000万元,其中,尾盘主力资金净流出最多的个股是浙大网新,净流出金额为8718.47万元;其次是华钰矿业、神州信息、分众传媒、数据港等,尾盘主力资金净流出均超4000万元。

龙虎榜机构净买入7股电工合金居首
盘后龙虎榜数据显示,今日机构席位资金合计净卖出约4.97亿元。其中,净买入的个股7只,净卖出的个股20只。机构净买入最多的股票是电工合金,净买入金额约1.05亿元;机构净买入居前的还有日发精机、三维通信等。机构净卖出最多的股票是大连重工,净卖出金额约2.48亿元;机构净卖出居前的还有中信重工、亚星锚链、南方精工等股。

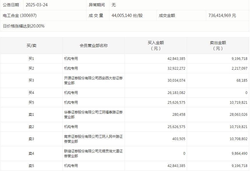
电工合金今天涨停。盘后数据显示,6家机构出现在龙虎榜单上,合计净买入1.05亿元;开源证券股份有限公司西安西大街证券营业部买入3003.41万元,同时卖出6.82万元;华泰证券股份有限公司江阴福泰路证券营业部买入28.05万元,同时卖出2806.3万元。

(文章来源:证券时报网)