上汽通用五菱申请“五菱奋斗者”商标
2025年02月20日 15:29
来源: 南方财经网
东方财富APP

方便,快捷

手机查看财经快讯

专业,丰富

一手掌握市场脉搏

手机上阅读文章

提示:

微信扫一扫

分享到您的

朋友圈

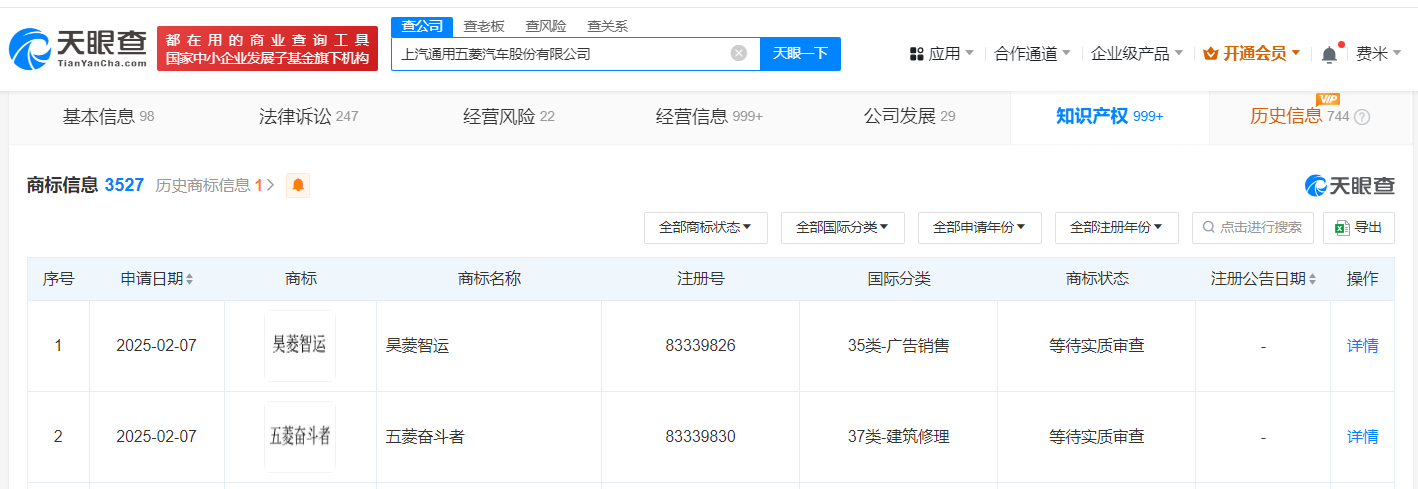
  南方财经2月20日电,天眼查知识产权信息显示,近日,上汽通用五菱汽车股份有限公司申请注册一枚“五菱奋斗者”商标,国际分类为建筑修理,当前商标状态为等待实质审查。此前据媒体报道,上汽通用五菱宣布将在2025年上线“五菱奋斗者平台”,该平台依托五菱汽车App推出,是一个让货主、车主、物流公司对接的货运平台。

(文章来源:南方财经网)

文章来源:南方财经网 责任编辑:65
原标题:上汽通用五菱申请“五菱奋斗者”商标
郑重声明:东方财富发布此内容旨在传播更多信息,与本站立场无关,不构成投资建议。据此操作,风险自担。
举报
分享到微信朋友圈

打开微信,

点击底部的“发现”

使用“扫一扫”

即可将网页分享至朋友圈

扫描二维码关注

东方财富官网微信


扫一扫下载APP

扫一扫下载APP
信息网络传播视听节目许可证:0908328号 经营证券期货业务许可证编号:913101046312860336 违法和不良信息举报:021-61278686 举报邮箱:jubao@eastmoney.com
沪ICP证:沪B2-20070217 网站备案号:沪ICP备05006054号-11 沪公网安备 31010402000120号 版权所有:东方财富网 意见与建议:4000300059/952500