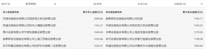
东方材料2月13日涨停,龙虎榜数据显示,上榜营业部席位全天成交1.3亿元,占当日总成交金额比例为10.24%。其中,买入金额为6269.18万元,卖出金额为6699.65万元,合计净卖出430.47万元。
具体来看,知名游资现身龙虎榜,章盟主(国泰君安证券股份有限公司上海江苏路证券营业部)净买入1030.86万元。此外,开源证券西安西大街证券营业部、财通证券杭州上塘路证券营业部分别买入2008.86万元、1162.31万元;国泰君安证券总部、开源证券西安西大街证券营业部分别卖出1765.71万元、1456.02万元。

(文章来源:界面新闻)