2026年3月以来,港股市场在经历前期深度调整后迎来震荡反弹。3月6日,恒生指数强势收涨1.72%,恒生科技指数表现更为亮眼,单日大涨3.15%,盘中最高涨幅一度触及3.77%。
此后市场情绪持续修复,3月16日恒生科技指数再度上扬2.69%,延续了近期的反弹势头。
在这场反弹中,资金回流与风险偏好回升成为核心驱动力。南向资金2月以来累计净流入达905.75亿港元,其中港股科技类ETF单周净流入高达132.59亿元,部分恒生科技ETF产品四个月内份额激增约6倍。然而,在市场整体回暖的背景下,科技龙头股的卖空数据却呈现出分化走势。
根据港交所披露数据显示,腾讯控股、小米集团、阿里巴巴及美团等核心科技股的卖空规模在3月中旬呈现不同程度的回落,但回落幅度与节奏存在显著差异。
腾讯卖空股数从3月11日的877.92万股大幅降至3月17日的245.38万股,降幅逾七成;而小米、阿里巴巴的卖空数据虽有回落,但整体仍维持相对高位。
腾讯控股:卖空压力显著缓解
腾讯控股(00700.HK)的卖空数据在3月中旬呈现最为明显的回落态势。根据港交所披露数据,腾讯的卖空股数从3月11日的877.92万股大幅降至3月17日的245.38万股,期间降幅达72.05%。同期的卖空金额从49.48亿港元回落至13.69亿港元,降幅高达72.33%。


美团:卖空数据持续走低
美团(03690.HK)的卖空数据回落幅度相对较大。卖空股数从3月9日的2319.36万股降至3月17日的1157.02万股,降幅达50.11%,期间一度降至657.36万股。卖空金额从17.97亿港元降至9.36亿港元,降幅为47.91%,期间一度降至5.03亿港元。


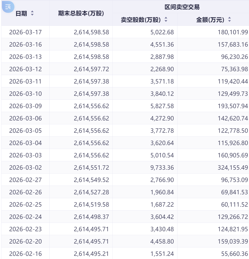
小米集团:卖空规模仍处于高位
腾讯形成对比的是,小米集团-W(01810.HK)的卖空数据虽有所回落,但整体仍维持相对高位。
数据显示,小米的卖空股数从3月9日的5827.58万股降至3月17日的5022.68万股,期间降幅为13.81%。值得注意的是,期间卖空股数一度回落至2268.90万股的低点。

卖空金额方面,小米从19.35亿港元降至18.01亿港元,降幅仅为6.93%,期间一度降至7.54亿港元。整体来看,小米的卖空压力虽有所缓解,但回落幅度远不及腾讯,空头持仓仍具韧性。

阿里巴巴:温和回落格局
阿里巴巴-W(09988.HK)的卖空股数从3月10日的1815.08万股降至3月17日的1589.02万股,降幅为12.45%,期间一度降至988.05万股。卖空金额从24.07亿港元降至21.73亿港元,降幅为9.72%,期间一度降至13.22亿港元。


卖空数据分化背后的市场逻辑
腾讯领跌空单:估值修复预期增强
腾讯卖空数据的大幅回落,反映出市场对其估值修复的预期正在增强。从基本面来看,腾讯作为港股科技龙头,其游戏业务、广告业务及金融科技板块在2026年一季度展现出较强的韧性。叠加南向资金持续流入的支撑,空头资金选择在此时点撤离具有合理性。
此外,腾讯的卖空金额从近50亿港元的高位快速回落至13亿港元附近,表明此前累积的空头头寸正在集中平仓。这种集中平仓行为往往伴随着股价的短期反弹动力。
小米卖空韧性:估值博弈仍在持续
小米集团卖空数据回落幅度有限,反映出市场对其估值水平的分歧仍在持续。主要源于两方面:一是市场对其短期估值泡沫的修正需求,二是汽车业务投入带来的盈利不确定性。尽管卖空数据有所回落,但空头资金并未完全撤离,表明市场对小米的博弈仍在继续。
为何卖空数据频频受市场关注?
卖空数据是观测市场情绪的重要指标之一。当卖空规模快速回落时,通常意味着空头力量减弱,市场悲观情绪正在缓解。腾讯、美团的卖空数据大幅回落,可视为市场情绪回暖的积极信号。
震荡筑底阶段的配置思路
综合当前市场环境与卖空数据变化,机构指出,恒生科技指数大概率呈现震荡筑底、温和修复走势。核心支撑在于当前估值处于历史低分位,配置性价比凸显;主要压制因素则来自美联储降息节奏滞后及成分股业绩修复分化。
(文章来源:财联社)