央视“3·15”晚会曝光的涉“荐股分成”骗局企业被当地通报。
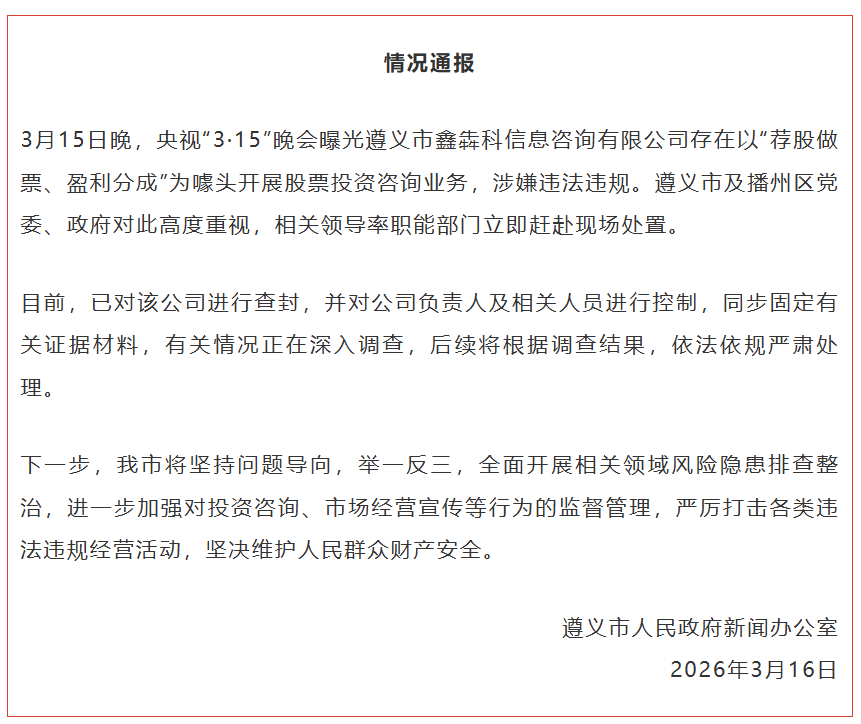
3月16日,据贵州遵义市人民政府新闻办公室通报,3月15日晚,央视“3·15”晚会曝光遵义市鑫犇科信息咨询有限公司存在以“荐股做票、盈利分成”为噱头开展股票投资咨询业务,涉嫌违法违规。
“目前,已对该公司进行查封,并对公司负责人及相关人员进行控制,同步固定有关证据材料,有关情况正在深入调查,后续将根据调查结果,依法依规严肃处理。”《情况通报》称。

据天眼查,遵义市鑫犇科信息咨询有限公司(下称“鑫犇科咨询”)成立于2025年9月,法定代表人为林海埼,林海埼的持股比例为100%。
鑫犇科咨询注册资本50万人民币,经营范围包括信息咨询服务、社会经济咨询服务、票据信息咨询服务、企业管理咨询,由林海埼全资持股。
值得一提的是,变更记录显示,2025年12月,鑫犇科咨询在成立三个月后,公司地址便由遵义市播州区龙坑街道保利未来城市,变更为侨龙财智国际。
不过,对于鑫犇科咨询的法定代表人林海埼,除了公司地址变更外,天眼查暂无更多涉及林海埼的自身、周边及历史风险信息。

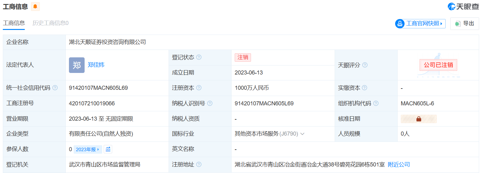
“荐股分成”骗局报道中出现的另一家公司为湖北天顺证券投资咨询有限公司(下称“天顺投资”)。
据央视新闻,一家自称天顺投资的机构客服人员推荐,记者以18.82元的价格买入2000股某只股票。然而,之后的半个月,这只股票一路下跌,记者不得不在亏损8个点后割肉离场。而从事“荐股分成”业务的幕后企业,即没有取得任何金融从业资格的鑫犇科咨询。
天眼查资料显示,天顺投资成立于2023年6月,法定代表人为郑佳炜,注册资本1000万人民币,经营范围包括证券投资咨询、第二类增值电信业务、以自有资金从事投资活动等,由郑佳炜全资持股。不过,该公司已于2024年7月注销。

天眼查数据显示,截至目前,我国共拥有超41万家金融消费相关企业。其中,从事金融消费相关业务的企业中,12.08%的相关企业曾出现法律诉讼,4.75%的相关企业曾出现经营异常,1.58%的相关企业曾出现行政处罚。
目前,金融消费相关企业共产生2000余条被执行人信息。其中,涉及金融借款合同纠纷的案件占比为45.46%,借款合同纠纷相关案件占比为21.26%,信用卡纠纷相关案件占比为8.7%。
与此同时,我国现存在业、存续状态的金融科技相关企业超4.7万家。从企业注册数量趋势来看,近五年间,金融科技相关企业的注册数量呈现出逐年增长的态势,并在2025年达到顶峰。
其中,从事金融科技相关的业务企业中,3.58%的相关企业曾出现法律诉讼,3.34%的相关企业曾出现经营异常,0.71%的相关企业曾出现行政处罚。
对于市场上这种名为“荐股做票,盈利五五分成”的股票投资业务,市场人士分析称,眼下网络上这种所谓的“荐股分成”的投顾业务,很多都是不法人员冒充正规金融投资机构实施的诈骗行为。推荐的股票如果获利,不法人员即索要分成,一旦股票下跌,不法人员便销声匿迹,“补齐亏损”就是诱惑消费者上当的话术。
(文章来源:澎湃新闻)