近日,一则涉及沪上一家公募董事长的“限消令”引发市场广泛关注。
企查查信息显示,上海市黄浦区人民法院于近期分别对上海凯石益正资产管理有限公司(简称“凯石益正”)和上海凯石财富基金销售有限公司(简称“凯石财富”)下发限制消费令,陈继武作为两家公司的法定代表人也被限制高消费及非生活和工作必需的消费行为。
陈继武更为市场熟知的身份是公募凯石基金董事长。然而,凯石基金近年来的发展处境颇为不顺,其公募基金管理规模在2019年到达约14亿元的“顶峰”后便持续缩水,截至2025年一季度末仅剩1.17亿元。
陈继武及关联公司被“限消”
上海市黄浦区人民法院6月6日对凯石财富下达限制消费令,该法院于5月14日立案执行申请人上海市黄浦区人力资源和社会保障局申请执行凯石财富其他行政处理一案。据天眼查,该案所涉金额约50.97万元。

限制消费令显示,因凯石财富未按执行通知书指定的期间履行生效法律文书确定的给付义务,依照《中华人民共和国民事诉讼法》第二百六十六条和《最高人民法院关于限制被执行人高消费及有关消费的若干规定》第一条、第三条的规定,该法院对凯石财富采取限制消费措施,限制凯石财富及公司法定代表人陈继武不得实施相关高消费及非生活和工作必需的消费行为。

此前在5月20日,同样由于未按执行通知书指定的期间履行生效法律文书确定的给付义务,上海市黄浦区人民法院还对陈继武旗下的凯石益正及其本人下达了限制消费令。企查查显示,该案的涉案总金额约为12.54万元。

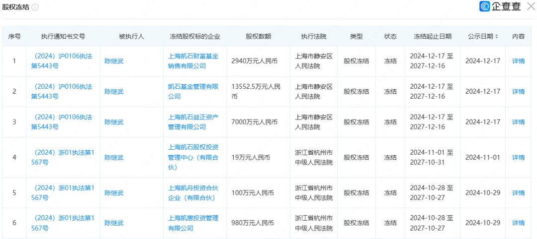
除被下达“限消令”外,陈继武所持的凯石财富、凯石益正等多家公司的股权也遭法院冻结。

凯石基金发展陷入“困境”
陈继武是一位资深金融从业人士,也是公募行业的“老将”。公开资料显示,其曾任浙江省国际信托投资银行总部副总经理,1999年加入南方基金,任基金金元、基金隆元的基金经理;后来相继担任了中国人寿资金管理中心基金投资部投资总监,富国基金投资总监、副总经理。2009年,他“公奔私”创办了上海凯石益正资产管理公司。8年后,他放弃私募业务,再次实现向公募的转身。
2017年3月,证监会批准了凯石基金的公募业务申请,5月,凯石基金作为国内第二家获批的“私转公”的公募基金正式成立。陈继武持有凯石基金65%的股份,并出任公司董事长。
然而,凯石基金后来的发展却不算顺利。公司成立八年来,在规模上始终未有大的突破。Choice数据显示,凯石基金2019年三季度末旗下共计7只公募基金,均为主动权益类基金,总规模达到14.25亿元。随后公司规模持续下滑,截至今年一季度末大幅缩水至1.17亿元。近两年一批存量“迷你基金”陆续清盘,公司旗下公募基金数量仅剩3只。
其中,凯石元鑫混合为今年3月6日成立,由凯石基金总经理李琛掌管,作为一只发起式基金,其最终募集金额刚逾千万元。截至6月10日,凯石元鑫混合自成立以来的收益率为2.13%。
(文章来源:上海证券报)