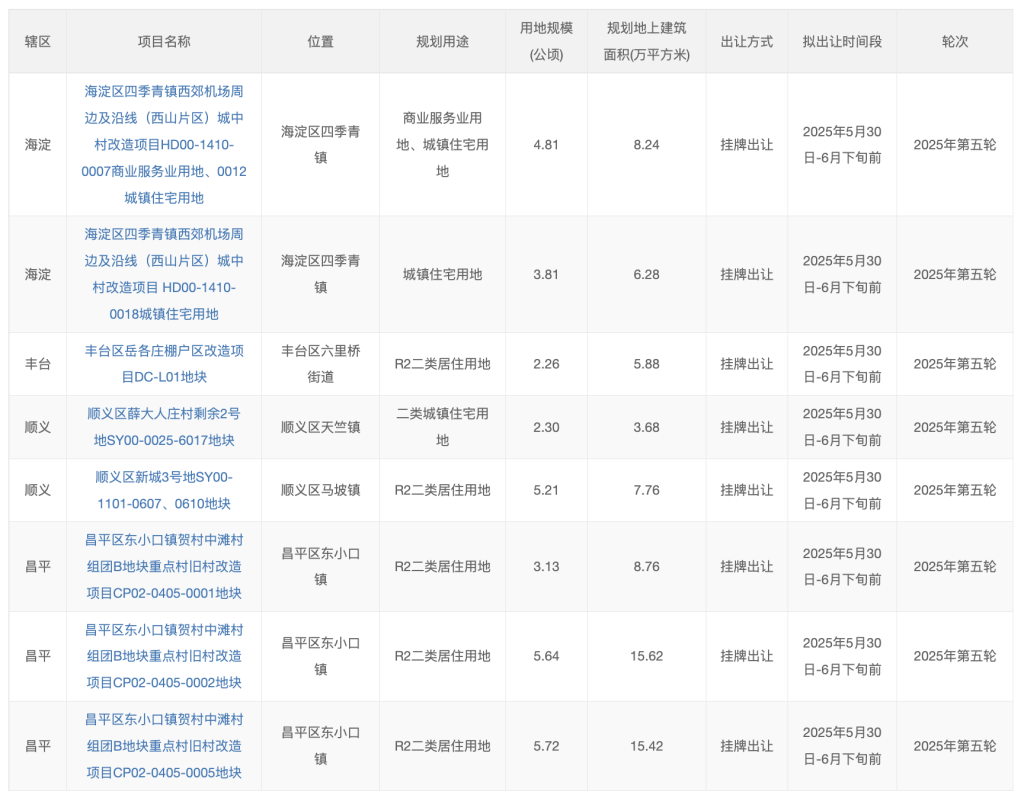
5月30日,北京市规划和自然资源委员会网站发布2025年度第五轮拟供应商品住宅用地清单,共涉及8宗地块,土地面积约33公顷,建筑规模约72万平方米,上述用地将于2025年6月下旬前供应。
从区域分布来看,中心城区3宗(海淀区2宗、丰台区1宗)、平原多点地区5宗(昌平区3宗、顺义区2宗)。

海淀区的2宗地块为海淀区四季青镇西郊机场周边及沿线(西山片区)城中村改造项目0007、0012地块和0018地块,位于海淀区四季青镇,四环至五环之间,邻近地铁6号线廖公庄站,东侧有西山公园、平庄郊野公园,教育资源丰富、生活配套完善。

海淀区四季青镇西郊机场周边及沿线(西山片区)城中村改造项目0007、0012地块和0018地块
丰台区岳各庄棚户区改造项目DC-L01地块,位于丰台区六里桥街道,三环至四环之间,邻近地铁10号线六里桥站,周边有中国人民解放军总医院第五医学中心、千禧购物中心、银座和谐广场、万丰公园等,教育、医疗、生活配套完善。

丰台区岳各庄棚户区改造项目DC-L01地块
昌平区3宗地,为昌平区东小口镇贺村中滩村组团B地块重点村旧村改造项目CP02-0405-0001地块、0002地块和0005地块,位于昌平区东小口镇,五环至六环之间,邻近在建地铁13B号线建材城东站,周边有西三旗万象汇、东小口城市休闲公园、东小口森林公园、贺新公园等设施,生活配套完善。

昌平区东小口镇贺村中滩村组团B地块重点村旧村改造项目CP02-0405-0001地块、0002地块和0005地块
顺义区薛大人庄村剩余2号地SY00-0025-6017地块位于顺义区天竺镇,五环至六环之间,邻近地铁15号线国展站,周边有温榆广场、天竺公园等,生活配套完善。

顺义区薛大人庄村剩余2号地SY00-0025-6017地块
顺义区新城3号地SY00-1101-0607、0610地块,位于马坡镇核心区,东北六环外,周边有北京中医医院顺义院区、鲁能美丽汇购物中心、金宝park天阶购物中心等设施,东侧紧邻潮白河、顺义奥林匹克水上公园,西侧临近马坡新城城市森林公园,生活配套完善、生态环境优美。

顺义区新城3号地项目SY00-1101-0607、0610地块
(文章来源:澎湃新闻)