5月19日,河北银行一笔1017.5万股的股份以1616.8万元起拍价再度挂牌,较4月首次流拍时的2021万元降价20%,每股均价从1.99元降至1.59元。尽管此次拍卖吸引近1700次围观,但仍然以流拍收场。

从3月到5月,河北银行股权在拍卖场上屡屡冷遇,价格一降再降。就在此前,该行另一笔684.3万股股份的拍卖历程更为坎坷:3月,该笔股权首次以1890.2万元起拍,随后在4月和5月两度降价,最新起拍价已缩水至1134.1万元,累计降幅达40%,却仍以三次流拍告终。
历史数据显示,2022年河北银行6500万股股权拆分拍卖后,最终以1.7亿元成交,折价超50%;2019年,4.7亿股股权两度流拍,起拍价从20.8亿元降至18.7亿元仍无人接手。
增收不增利
河北银行近日发布的2024年度报告揭示了其经营业绩的复杂局面,或许也是其股权不受欢迎的原因。
2024年,该行实现营业收入137.3亿元,同比大增22.3%,但净利润却同比下降19.9%至22亿元,呈现“增收不增利”的局面。

河北银行营收增长主要得益于非利息净收入的爆发式增长。2024年,河北银行投资收益达39.3亿元,同比激增189%;公允价值变动收益6.9亿元,同比增幅高达330.5%,二者合计贡献营收增量的83%。
然而,其传统利息净收入却在下滑,2024年同比下降6.4%至88.5亿元,今年一季度进一步缩减8.7亿元至21亿元。
净息差收窄是主业承压的核心原因,2024年,河北银行净息差同比下降25个基点至1.64%,尽管资产规模同比增长7.1%至5696亿元,但贷款规模仅较年初增长3.7%至3227.7亿元,存款余额则增长9.9%至4370.8亿元,风险资产扩张迟缓导致“以量补价”策略收效甚微。
净利润大幅下滑的直接诱因是信用减值损失的计提。2024年,河北银行计提信用减值损失77.3亿元,同比激增61.6%,但2024年末不良贷款余额仍达49.6亿元,同比增加8.31亿元;不良贷款率上升0.19个百分点至1.50%,资产质量压力未减。
IPO折戟:AH反复横跳
作为河北省重要的省属地方法人银行,河北银行的上市进程一直备受瞩目,但是其多年来冲击IPO的征程却屡屡受挫,上市之路陷入僵局。
2010年末,河北银行正式启动上市辅导相关工作。次年,即2011年开展了针对董监高人员及持股5%以上股东代表的培训,并于12月27日正式向河北证监局递交上市辅导备案材料,辅导机构确定为中信证券,彼时的目标是登陆A股市场。
然而,河北银行的上市之路刚启程就遭遇阻碍。当时恰逢A股IPO停滞,这一状况使得河北银行的上市进程被迫放缓。面对困境,河北银行开始调整上市策略。2015年3月,在其临时股东大会上,审议通过了相关议案,决定由最初的A股上市转为谋求H股上市,试图从另一条路径实现上市目标。
但仅仅过了5个月,形势再次发生变化。2015年8月,河北银行2015年第三次临时股东大会审议通过《关于首次公开发行由H股调整为A股的议案》,又将上市地点调回A股市场。对于这一决策,时任河北银行董事会秘书赵清辉曾表示,是基于银行自身的考虑,但具体原因并未对外透露。
然而,尽管做了诸多努力,河北银行的上市之路仍未能顺利推进。2022年,河北银行做出撤回上市辅导备案的决定。证监会网站信息显示,该行表示是根据监管指导意见,综合考虑资本市场动态,特别是银行业估值情况和注册制改革推进等因素;同时强调这仅是对以前辅导工作状态的更新,并不会改变和影响该行后续上市的目标与计划,将根据业务发展和资本补充需要择机启动公开上市。
回顾其筹备历程,财务表现、资产质量等问题或是上市折戟主因。2017年至2019年,该行营业收入分别为74.1亿元、67.7亿元和80.3亿元,净利润分别为27.2亿元、20.2亿元和20.5亿元,呈现增收不增利甚至双降的局面。2020年,该行营收86亿元,同比增7.2%,净利润却同降9.6%至18.7亿元。
资产质量方面,2017年末河北银行不良贷款率1.61%,2018年飙升至2.53%,2020年末为1.98%;同期拨备覆盖率从2017年162.7%的高位持续下降,2020年末为133.4%,下降29.3个百分点。
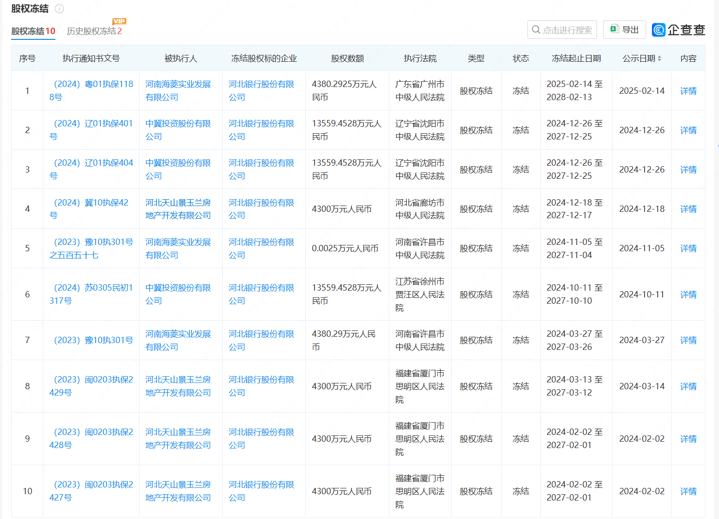
此外,河北银行的股权结构也存在一定问题。在其筹备上市期间,经历了多次股权变更,且其股权存在质押和冻结情况,据企查查信息,该行有2.2亿元股权被冻结,其中有多笔股权存在被重复冻结的情况。

如今,河北银行虽表示未来仍有上市计划,但何时能够重启上市进程、如何解决自身存在的问题以满足上市要求,仍是摆在其面前的重大挑战。
(文章来源:财中社)