哪吒汽车创始人方运舟被冻结2000万元股权
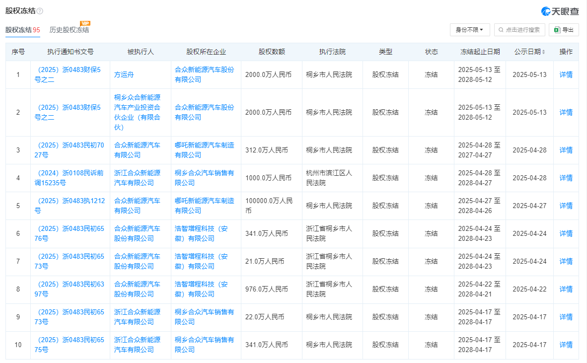
财联社5月15日讯,天眼查App显示,近日,合众新能源汽车股份有限公司新增股权冻结信息,被执行人为哪吒汽车创始人方运舟,冻结股权数额2000万人民币,冻结期限自2025年5月13日至2028年5月12日,执行法院为浙江省嘉兴市桐乡市人民法院。

天眼风险信息显示,近日,合众新能源汽车股份有限公司被申请破产审查。目前,该公司存在多条被执行人、限制消费令和股权冻结信息。

(文章来源:财联社)