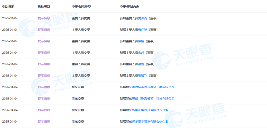
天眼查App显示,近日北京旷视科技有限公司(以下简称“旷视科技”)发生了一系列重要的工商变更动作。公司引入了多位新股东,包括蚂蚁集团旗下的上海云钊创业投资有限公司、联想控股旗下的西藏星帆企业管理有限公司,以及重庆产业投资母基金合伙企业(有限合伙)等。此外,公司也迎来多位新任董事及监事。
此次变更,旷视科技的注册资本也实现了大幅提升,由原先的约571.5万元增长至约3394.2万元。公司实控人仍为印奇,唐文斌和杨沐等原始股东共同持股。


旷视科技与商汤科技、依图科技、云从科技并称为“计算机视觉四小龙”,即“AI四小龙”。旷视科技成立于2011年10月。据公司官网介绍,旷视科技面向消费物联网、城市物联网、供应链物联网三大核心场景提供经验证的AIoT软硬一体化解决方案,广泛应用于互联网、金融、城市、交通、地产、物流等领域,助力行业的智能化升级和AI的商业化落地。旷视科技是全球为数不多的拥有自主研发的深度学习框架的公司之一,其天元框架已正式开源。公司自研的新一代AI生产力平台Brain++,可以帮助企业快速高效地建立企业内的AI基础设施,以更少的人力和更短的时间开发出各种新算法,满足行业长尾需求。
旷视科技目前仍未上市。2024年底,上交所官网显示,旷视科技IPO状态已显示为“终止注册”。旷视科技及其主承销商中信证券主动要求撤回科创板上市注册申请,原因是“基于对技术趋势、行业环境和自身战略选择的全面考量”。
这意味着,旷视科技从2019年冲刺港股到2021年转战科创板,为期5年的上市之旅宣告结束。在IPO之前,旷视科技已经完成多轮融资,估值超百亿元,其投资方包括蚂蚁集团、淘宝中国、中银集团、工银资管(全球)、启明创投、纪源资本、阿布扎比投资局等。
近年来,“AI+汽车”被业内视为旷视科技的重要发展方向。2024年底,旷视科技创始人、CEO印奇被选举为力帆科技(证券简称已更名为“千里科技”)董事长。此外,由于吉利在力帆科技破产重整之后曾作为战略投资者入局,三家公司目前存在多重关联。
在今年2月举行的2025全球开发者先锋大会上,印奇首次系统阐述了他对“+AI”与“AI+”的差异化判断。他认为,当前行业仍处于“+AI”阶段,而真正“AI+”的核心应用场景还未出现。“+AI”,即传统产业引入AI技术,优化既有功能,如同“给机械躯体注入数字能力”;“AI+”则是以大模型为核心驱动,重构产品逻辑与用户体验。
印奇认为,在人工智能通向AGI的过程中,智能汽车、机器人是最关键的载体,而车又是走向具身智能的必要路径。“AI+车”可能是第一个落地的场景,其中最重要的场景则是智能驾驶和智能座舱。
公开资料显示,旷视科技智驾业务起步于2021年。旷视科技智驾业务总裁刘伟在2023年接受媒体采访时表示,公司智驾部门已有数百名员工,其中近三分之二是算法研发团队,剩下三分之一左右则是工程交付团队。旷视自动驾驶业务此前主张走性价比路线,强调量产与规模化的辅助驾驶方案。
(文章来源:上海证券报)