3月21日,国家税务总局北京市税务局稽查局公布司马南偷税案件处理情况。
前期,税务稽查部门依托税收大数据分析发现,网络“大V”司马南涉嫌偷税,依法对其开展立案检查。
经查,司马南在2019年至2023年期间,通过隐匿收入、虚假申报等手段,少缴个人所得税、增值税等税费共计462.43万元。此外,其实控企业北京某影视策划中心通过虚列成本费用,违规享受小微企业优惠政策等方式,少缴企业所得税75.32万元。
国家税务总局北京市税务局稽查局根据《中华人民共和国个人所得税法》《中华人民共和国企业所得税法》《中华人民共和国税收征收管理法》《中华人民共和国行政处罚法》等相关法律法规,对司马南及其实控企业追缴税费款,加收滞纳金、罚款共计926.94万元,已全部入库。

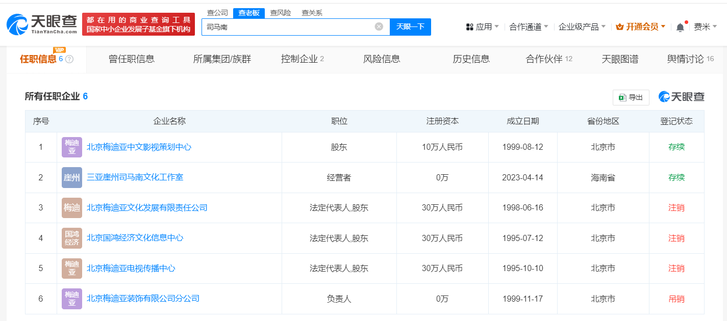
天眼查商业履历信息显示,司马南名下关联6家企业,其中3家已注销,1家被吊销,目前仅北京梅迪亚中文影视策划中心及三亚崖州司马南文化工作室处于存续状态。

北京梅迪亚中文影视策划中心成立于1999年8月,法定代表人为于宁,注册资本10万人民币,经营范围包括影视策划服务、企业形象策划服务、为承办展览展示提供服务等,由司马南、于宁、于慧共同持股,其中司马南持股比例为50%。参保人员信息显示,该公司2023年参保人数为1。

三亚崖州司马南文化工作室成立于2023年4月,经营者为司马南,企业类型为个体工商户,经营范围含演出经纪、企业形象策划、市场营销策划等。商标信息显示,该工作室目前申请多枚“司马南”商标,国际分类涉及教育娱乐、广告销售、社会服务等,部分商标状态为初审公告。

值得一提的是,去年西凤酒旗下品牌邀请了司马南作为其中秋活动的嘉宾,引发大量负评,众多网友甚至表示要抵制西凤酒。
9月19日,西凤酒紧急公关“熄火”,发布《关于规范市场推广活动的通知》(下称“《通知》”),对相关品牌活动进行严格约束和要求。
《通知》显示,西凤酒营销管理公司、品牌运营公司所有市场活动实行书面报备管理制度,由营销管理公司市场推广部审查同意后方可实施,且活动拟邀请的专家学者、重要领导、文化名人等须符合社会主义核心价值观。
9月21日下午,司马南则在个人微博发文回应称,“放开西凤,冲我来!”,其表示,自己没拿西凤酒的钱,没给西凤酒做代言,也没有替西凤做过广告。“西安中秋大唐夜宴活动,西凤酒是赞助商之一,我去做了一场演讲,与若干学者专家有几番对话,仅此而已。”

(文章来源:21世纪经济报道)