奇瑞汽车申请注册猎鹰智驾商标
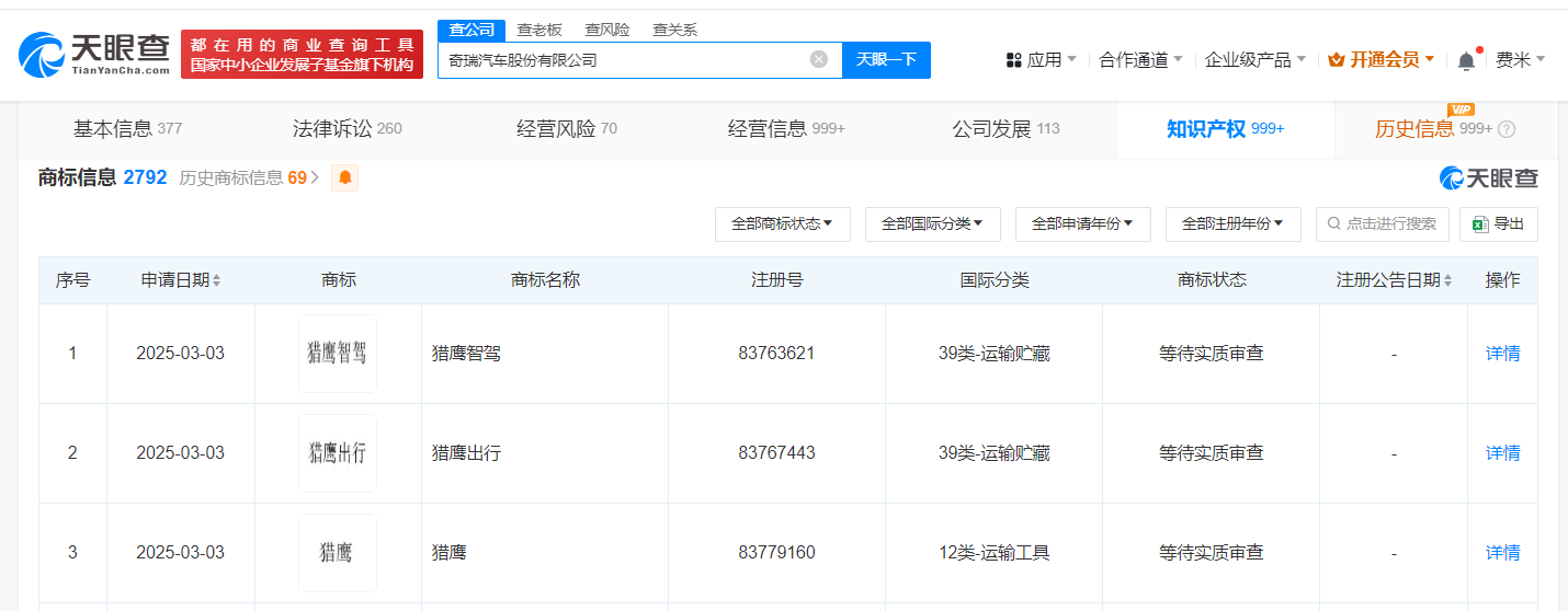
南方财经3月17日电,天眼查财产线索信息显示,近日,奇瑞汽车股份有限公司申请注册“猎鹰智驾”“猎鹰”“猎鹰出行”商标,国际分类为运输贮藏、运输工具,当前商标状态均为等待实质审查。公开信息显示,“猎鹰智驾”是奇瑞旗下星途品牌发布的智能驾驶系统。该系统首搭全新星纪元ET增程四驱,并于2024年广州车展期间正式开启端到端智驾广州首测。

(文章来源:南方财经网)
南方财经3月17日电,天眼查财产线索信息显示,近日,奇瑞汽车股份有限公司申请注册“猎鹰智驾”“猎鹰”“猎鹰出行”商标,国际分类为运输贮藏、运输工具,当前商标状态均为等待实质审查。公开信息显示,“猎鹰智驾”是奇瑞旗下星途品牌发布的智能驾驶系统。该系统首搭全新星纪元ET增程四驱,并于2024年广州车展期间正式开启端到端智驾广州首测。

(文章来源:南方财经网)