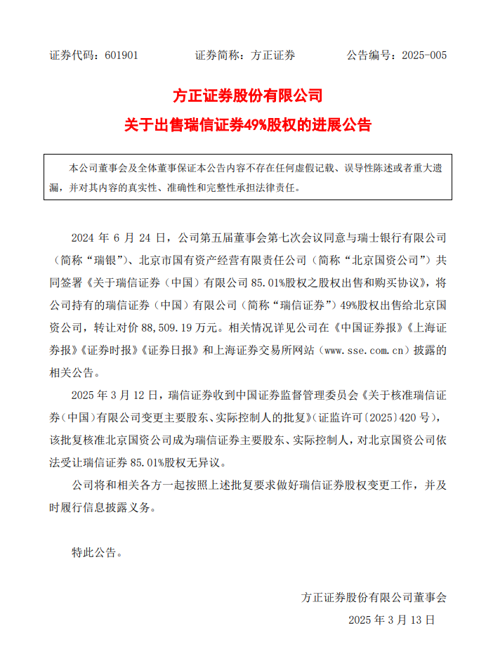
财联社3月12日讯(记者林坚)北京国资参控股的券商达到5家。3月12日,方正证券公告称,2025年3月12日,瑞信证券收到中国证监会《关于核准瑞信证券(中国)有限公司变更主要股东、实际控制人的批复》,核准北京国资公司成为瑞信证券主要股东、实际控制人,对北京国资公司依法受让瑞信证券85.01%股权无异议。

方正证券发布公告内容。
北京国资公司是北京市为数不多具有金融主业的市管国有企业,业务涉及银行、证券、要素市场、消费金融等领域,是北京银行的中方第一大股东、北京农商银行的第二大股东、建信消费金融的主要股东、北京国家金融科技风险监控中心的并列第一大股东。
至此,北京地方国资体系参控股的券商至少有首创证券(实控人是北京国资委)、第一创业(第一大股东为北京国有资本运营管理有限公司,也就是北京国管)、金融街证券(原名“恒泰证券”,实控人金融街集团为北京市西城区国资委旗下企业)、中信建投证券(第一大股东是北京金控集团)以及最新被核准收购的瑞信证券。
上一次股权收购的进展在四个月之前的2024年11月,彼时,证监会对瑞信证券变更主要股东和实际控制人申请提出反馈意见。核心的看点在于材料的说明不够充分,主要是对财务健康、合规性、风险管理、信息披露和公司治理等方面的关注。

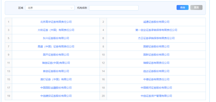
北京辖区内券商名单。
围绕此番最新进展,至少有四个方面信息值得关注。尤其是,随着北京国资公司的动作,围绕着北京辖区内券商的并购传闻与事件只增不减,且主要集中在首创证券、第一创业、中信建投、中金公司、银河证券、东兴证券、国开证券、方正证券、信达证券、国都证券等主体,不难看出,其中北京国资系参控股的券商比重最大,比如中信建投曾参与第一创业的定增,首创证券与第一创业多次有传闻。
看点一:北京国资公司成为实际控制人
瑞信证券的十年浮沉起了新的一段故事。瑞信证券前身为2008年由方正证券与瑞信银行合资设立的瑞信方正证券,初始持股比例为方正证券66.7%、瑞信33.3%。2020年瑞信增资后持股比例升至51%,方正保留49%。然而,随着瑞信集团2023年被瑞银(UBS)收购,瑞信证券股权归属发生变动,瑞银继承原瑞信权益,最终选择与方正共同出售股权。
目前来看,北京国资所获得的85.01%股权由两个部分构成,分别是方正证券持有的瑞信证券49%股权,对价8.85亿元;瑞银集团通过其子公司瑞信持有的瑞信证券36.01%股权,对价约合6.505亿元。
从时间线来看,此番交易可追溯一年前。2024 年 6 月,瑞银和方正证券与北京国资公司达成三方协议,瑞士银行与方正证券分别向北京国资公司出售所持有的瑞信证券36.01%及 49%股权。
看点二:更名“北京证券”传闻已久
此次交易标志着瑞信证券从外资控股券商转型为国资主导。财联社曾在《北京国资公司距离接手瑞信证券还有多远?刚获监管9条反馈意见》《北京国资公司拟15.4亿清仓瑞银证券33%股权,再引猜想:距离外资独资券商已不远?》等系列报道中,对北京国资对瑞信证券、瑞银证券等牌照的运作有过跟踪报道。
对于收购瑞信证券股权,北京国资公司也曾提到过,是双方合作的进一步延伸,也是落实国家和北京市对于金融服务实体经济相关要求的具体举措。
记者注意到,2025年开年以来,有坊间消息称,随着股权收购转让的推进,瑞信证券或将在未来进行更名,目前有传闻称,更名或为“北京证券”,但目前并无任何实质性求证。
这一传闻或有依据可参考。2024年8月,恒泰证券公告拟更名为“金融街证券股份有限公司”,并解释此举旨在实现与金融街集团的品牌协同,融入其金融全产业链布局。2022年9月,原大股东天风证券以18亿元对价向北京华融综合投资有限公司(金融街集团全资子公司)转让恒泰证券2.49亿股股份(占股约9.58%)。此次交易后,金融街集团通过直接及间接方式合计持有恒泰证券29.99%股权,再后来,金融街集团于2023年2月正式获证监会核准成为恒泰证券实际控制人。
这两年有更名的券商不在少数,多数发生在股权变更之后,例如网信证券(麦高证券)、九州证券(华源证券)等、华融证券(国新证券)、新时代证券(诚通证券)。
看点三:瑞信证券或实现业务转型
此次国资接盘后,瑞信证券或借助北京国资公司的本地资源实现业务转型。整体来看,北京国资接盘瑞信证券,延续了近年来地方国资加强金融资产控制的趋势。国资背景可为券商提供资本、政策及客户资源支持,尤其在服务区域经济、国企改革等领域更具优势。目前有一个解读猜想是,北京国资入主后,瑞信证券或转向服务国企改革、北交所企业融资等本土化业务。
瑞银亚太区总裁及财富管理全球联席总裁康瑞博(Iqbal Khan)受访表示:“亚太区是瑞银战略目标的核心,而中国是其中的重要市场。此次交易进一步优化了我们在中国境内平台的战略布局。我们与北京国资公司的合作伙伴关系已有 20 年,很高兴能与他们继续携手前行。”
值得关注的是,瑞银为何要将瑞信证券36.01%股权售给北京国资公司?这主要是根据“一参一控”的规定,一家机构不能同时控股两张证券业务牌照。瑞银名下原有两个券商股权,分别是瑞银证券以及瑞信证券,瑞银以67%实控瑞银证券。由于持股瑞银证券67%股权,瑞银根据政策要求,也需要把二者股权进行处理。
反观北京国资公司,旗下也持有瑞银证券33%股权。据北京产权交易所消息,2024年11月北京国资公司拟出售这部分股权。目前来看,北京国资公司已倾向瑞信证券,而瑞银更可能希望紧握瑞银证券。
看点四:体现方正证券战略考量
最新方正证券公告显示,公司第五届董事会第七次会议同意与瑞银、北京国资公司共同签署《关于瑞信证券(中国)有限公司85.01%股权之股权出售和购买协议》,将公司持有的瑞信证券49%股权出售给北京国资公司,转让对价8.85亿元。
这也意味着,方正证券彻底退出合资券商阵营。业内人士解读,包括今年2月出售郑州裕达国贸大楼,方正证券正“盘活资产、提高资金使用效率”。另一方面,这既体现了方正证券战略的考量,也折射出中国证券行业格局的深层变动。
方正证券最新表示,公司将和相关各方一起按照监管的批复要求做好瑞信证券股权变更工作,并及时履行信息披露义务。
(文章来源:财联社)