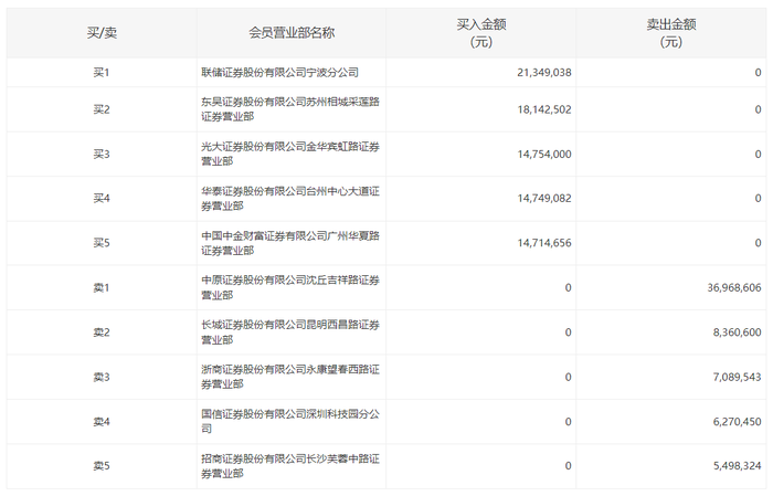
凯旺科技2月28日涨停,龙虎榜数据显示,上榜营业部席位全天成交1.48亿元,占当日总成交金额比例为49.2%。其中,买入金额为8370.93万元,卖出金额为6418.75万元,合计净买入1952.18万元。
具体来看,知名游资现身龙虎榜,方新侠(华泰证券股份有限公司台州中心大道证券营业部)净买入1474.91万元。此外,联储证券宁波分公司、东吴证券苏州相城采莲路证券营业部分别买入2134.90万元、1814.25万元;中原证券沈丘吉祥路证券营业部、长城证券昆明西昌路证券营业部分别卖出3696.86万元、836.06万元。

(文章来源:界面新闻)