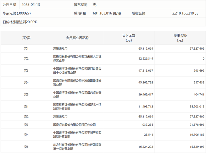
华谊兄弟今日涨停,龙虎榜数据显示,上榜营业部席位全天成交3.99亿元,占当日总成交金额比例为17.99%。其中,买入金额为2.78亿元,卖出金额为1.21亿元,合计净买入1.58亿元。
具体来看,知名游资现身龙虎榜,赵老哥(中国银河证券股份有限公司绍兴证券营业部)净买入3906.47万元、宁波桑田路(国盛证券有限责任公司宁波桑田路证券营业部)净买入4472.82万元。此外,深股通专用、国投证券西安朱雀大街证券营业部分别买入6511.21万元、5252.63万元;国泰君安证券成都北一环路证券营业部、深股通专用分别卖出3520.30万元、2732.74万元。

(文章来源:界面新闻)