2月13日,上证指数、深证成指、创业板指全天窄幅震荡;科创50指数全天震荡走低。截至收盘,上证指数报3332.48点,跌0.42%,成交额7058亿元;深证成指报10626.62点,跌0.77%,成交额11139.94亿元;创业板指报2176.16点,跌0.71%,成交额5189.16亿元;科创50指数报1017.09点,跌2.31%,成交额1448.38亿元。沪深两市合计成交18197.94亿元,成交额较上一交易日增加1425.79亿元。
盘面上来看,行业板块、概念跌多涨少。其中,传媒、食品饮料、农林牧渔、房地产、美容护理等行业涨幅靠前;猪肉、白酒、智谱AI、短剧互动游戏、在线旅游、小红书等概念走势活跃。电子、机械设备、通信、汽车、计算机、国防军工、石油石化、环保、教育等行业跌幅居前;同步磁阻电机、人形机器人、AI眼镜、星闪、铜缆高速连接、摄像头、玻璃基板、存储芯片、工业母机等概念走势较弱。涨停个股主要集中在传媒、计算机、机械设备、建筑装饰、通信等行业。
个股涨跌情况,截至收盘,沪深两市合计1115只个股上涨,3885只个股下跌,平盘个股123只,停牌的个股8只。不含当日上市新股,共有74只个股涨停,8只个股跌停。
从收盘涨停板封单量来看,杭钢股份最受追捧,收盘涨停板封单有1.69亿股;其次是梦网科技、四川长虹、东方集团、美邦服饰、光线传媒、岭南股份等,涨停板封单分别有6218.07万股、5914.23万股、5029.42万股、3104.83万股、2812.55万股、2681.49万股。
以涨停板封单金额计算,22股封单金额超1亿元。其中,杭钢股份涨停板封单资金最多,涨停板封单资金为17.1亿元;其次是梦网科技、光线传媒、四川长虹、航锦科技、用友网络、数据港等,涨停板封单资金分别为12.92亿元、8.14亿元、7.66亿元、3.99亿元、3.88亿元、2.11亿元。

从连续涨停天数来看,杭钢股份、梦网科技均连收7个涨停板,连续涨停板数量最多;其次是居然智家、光线传媒、*ST海越、*ST信通均4连板;冀凯股份、*ST宁科、威派格均3连板;视觉中国、中恒电气、康盛股份、立方数科、横店影视、杭齿前进、浙文互联等14股均2连板。
沪深两市主力资金净流出592.45亿元 11个行业主力资金呈现净流入
Wind统计显示,沪深两市主力资金今日净流出592.45亿元。其中,创业板主力资金净流出193.37亿元,沪深300成份股主力资金净流出141.02亿元,科创板主力资金净流出40.53亿元。
从行业来看,申万所属的31个一级行业,今日有11个行业主力资金呈现净流入,其中,食品饮料行业主力资金净流入最多,净流入金额为9.48亿元;行业主力资金净流入居前的还有农林牧渔、房地产、建筑装饰等,净流入金额分别为7.3亿元、4.83亿元、4.41亿元。20个行业主力资金呈现净流出,其中,电子行业主力资金净流出最多,净流出金额为179.93亿元;行业主力资金净流出靠前的还有计算机、机械设备、通信、电力设备、汽车等,净流出金额分别为143.37亿元、70.32亿元、55.7亿元、52.59亿元、33.7亿元。

72股获主力资金净流入超亿元尾盘主力资金抢筹四川长虹等
个股来看,今日有1949只个股获主力资金净流入,其中,72股获主力资金净流入超1亿元。四川长虹主力资金净流入最多,净流入金额为14.44亿元;主力资金净流入居前的个股还有宁德时代、天风证券、宇信科技、用友网络、君正集团等,净流入金额分别为8.37亿元、6.71亿元、6.6亿元、6.19亿元、5.39亿元。
尾盘主力资金净流入来看,有22股获尾盘主力资金净流入超3000万元,其中,四川长虹尾盘主力资金净流入最多,净流入金额为7.15亿元;其次是梦网科技、浙江建投、用友网络、中航电测、宁德时代等,尾盘主力资金净流入分别为4.05亿元、9212.32万元、9103.9万元、6092.16万元、5314.79万元。

188股被主力资金净卖出超亿元
今日有3171只个股被主力资金净卖出,其中,188股被主力资金净卖出超1亿元。主力资金净流出最多的个股是中兴通讯,净流出金额为24.77亿元;主力资金净流出居前的个股还有拓维信息、常山北明、上海电气、浙江东方、汉得信息等,净流出金额分别为17.28亿元、15.76亿元、14.53亿元、12.56亿元、12.07亿元。
尾盘主力资金净卖出来看,有51股被尾盘主力资金净卖出超5000万元,其中,尾盘主力资金净流出最多的个股是赛力斯,净流出金额为3.25亿元;其次是东方财富、浙江东方、中芯国际、拓维信息、中兴通讯、上工申贝等,尾盘主力资金净流出均超1.5亿元。

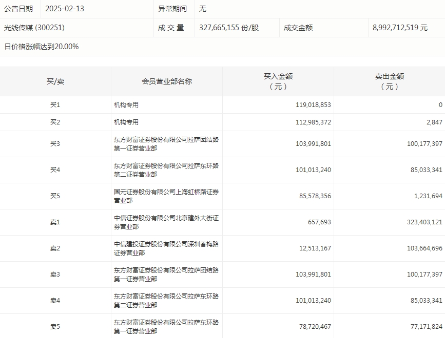
龙虎榜机构净买入7股光线传媒居首
盘后龙虎榜数据显示,今日机构席位资金合计净卖出约8.07亿元。其中,净买入的个股7只,净卖出的个股14只。机构净买入最多的股票是光线传媒,净买入金额约2.32亿元;机构净买入居前的还有拓维信息、江海股份、浙大网新等。机构净卖出最多的股票是浙数文化,净卖出金额约3.59亿元;机构净卖出居前的还有瑞芯微、美格智能、福石控股等股。

光线传媒今天涨停。盘后数据显示,2家机构出现在龙虎榜单上,合计净买入2.32亿元;国元证券股份有限公司上海虹桥路证券营业部买入8557.84万元,同时卖出123.17万元;东方财富证券股份有限公司拉萨东环路第一证券营业部买入7872.05万元,同时卖出7717.18万元。

(文章来源:证券时报网)