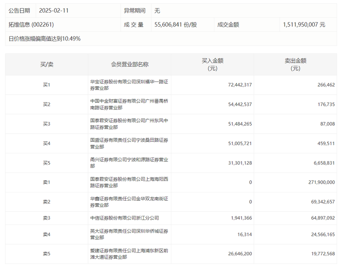
2月11日,拓维信息今日涨停,龙虎榜数据显示,上榜营业部席位全天成交7.47亿元,占当日总成交金额比例为49.43%。其中,买入金额为2.89亿元,卖出金额为4.58亿元,合计净卖出1.69亿元。
具体来看,知名游资现身龙虎榜,宁波桑田路(国盛证券有限责任公司宁波桑田路证券营业部)净买入5054.62万元。此外,华宝证券深圳福华一路证券营业部、中国中金财富证券有限公司广州番禺桥南路证券营业部分别买入7244.23万元、5444.25万元;国泰君安证券上海海阳西路证券营业部、华鑫证券金华双龙南街证券营业部分别卖出2.72亿元、6934.27万元。

(文章来源:界面新闻)