中新网北京2月11日电(记者左宇坤)王健林的资产出售计划还在继续。
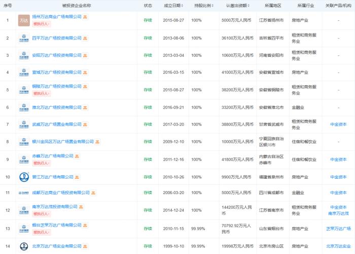
据天眼查App,近日,四平万达广场投资有限公司、扬州万达商业广场有限公司发生工商变更:原股东大连万达商业管理集团股份有限公司退出,新增坤华(天津)股权投资合伙企业(有限合伙)为全资股东。
据不完全统计,万达已累计“割爱”30余座万达广场。
新华保险已接手14家万达广场
万达商管官网显示,吉林四平万达广场于2016年7月开业,开业首日客流近30万人次,营业额近1500万元;扬州万达广场于2017年12月开业,首日客流26万人次。
一面是万达与昔日的风光挥手告别,另一面,接盘的坤华(天津)股权投资合伙企业(简称“坤华股权投资”)近期频频出手。
坤华股权投资背后的主要出资人是新华人寿保险股份有限公司(简称“新华保险”)。股权穿透后可以看到,新华人寿保险股份有限公司、中金资本运营有限公司分别持股99.99%、0.01%。
岁末年初,坤华股权投资还接连将安阳、宣城、铜陵、淮北、武威等地的万达广场收入囊中。
这家2023年12月刚刚成立的投资公司,在过去一年多时间里,对外投资项目均与万达紧密相关。天眼查统计显示,坤华股权投资已进行了14次对万达广场相关资产的对外投资,即新华保险已接手14家万达广场。
其中最重头的当属北京万达广场实业有限公司。该公司是北京万达广场的开发商,北京万达广场则是万达首次在CBD核心区开发项目,万达集团2008年将总部迁至这里,王健林本人也长期在此办公。
作为万达集团的核心资产,万达广场曾被视为王健林的心头肉。有媒体报道,王健林曾在2019年的年会上表示:“万达商管是万达的核心企业,我什么企业都能丢,这个不能丢。”
“割爱”的背后,当年万达商管上市失败留下的苦果还在持续。
为了走出上市对赌危机,2024年万达曾引入包括PAG(太盟集团)在内的一批新的投资者,联合向大连新达盟商业管理有限公司投资约600亿元,但未能彻底解决问题。
2024年10月起,万达开始遭遇“连环追款”。先是永辉超市发布公告称,大连御锦未按约支付万达商管第四期股权转让款,要求立即付款并向仲裁机构提起仲裁,追究大连御锦及王健林等担保人责任,涉及资金36亿元。
随后又有两个企业跟上。ST易购、融创中国接连发布了关于重大仲裁的公告,请求裁决万达集团支付股份回购款,分别为50.4亿元、95亿元。

坤华股权投资接手的万达广场。 截图自天眼查
险资“扫货”商业地产
之于王健林,出售万达广场无疑能帮助集团应对企业债务问题、迅速回笼资金。但保险公司为什么愿意接下万达的摊子?
在国内资本市场中,保险资金是一支重要的金融力量,它们凭借独特的投资视角和长期的投资策略,通常能够提前下注某些资产,并在这些资产价值大幅上升后适时退出,从而获得丰厚的回报。
早在2023年上半年,万达拟出售旗下万达广场以换取流动资金的消息已然发酵。资产包中的万达广场从一二线城市到全国各地,吸引了诸多以险资为代表的中长线资金关注。
据不完全统计,阳光保险、大家人寿、太保资本、中银三星保险、横琴人寿等险资均位列万达广场的买家名单,先后累计出手接盘近20个万达广场项目。
有知情人士表示,近期被出售的万达广场仍然将保留万达品牌,也就是资产由投资方持有,万达负责管理和服务。
中国企业资本联盟副理事长柏文喜认为,保险资金具有规模大、期限长的特点,需要配置大量长期资产以匹配负债端的需求。相较而言,其他资金渠道可能不具备同等规模的资金和长期的投资期限,难以满足万达广场这类大型不动产的投资需求。
目前来看,万达在国内多个城市均有布局,且多位于城市核心区域,具有稳定的租金收入,能够提供持续的现金流。分析认为,险资们对于优质不动产的争抢还将继续。(完)
(文章来源:中国新闻网)