光线传媒今日涨停 一机构净卖出7497.64万元
2025年02月10日 16:56
来源: 第一财经
东方财富APP

方便,快捷

手机查看财经快讯

专业,丰富

一手掌握市场脉搏

手机上阅读文章

提示:

微信扫一扫

分享到您的

朋友圈

K图 300251_0

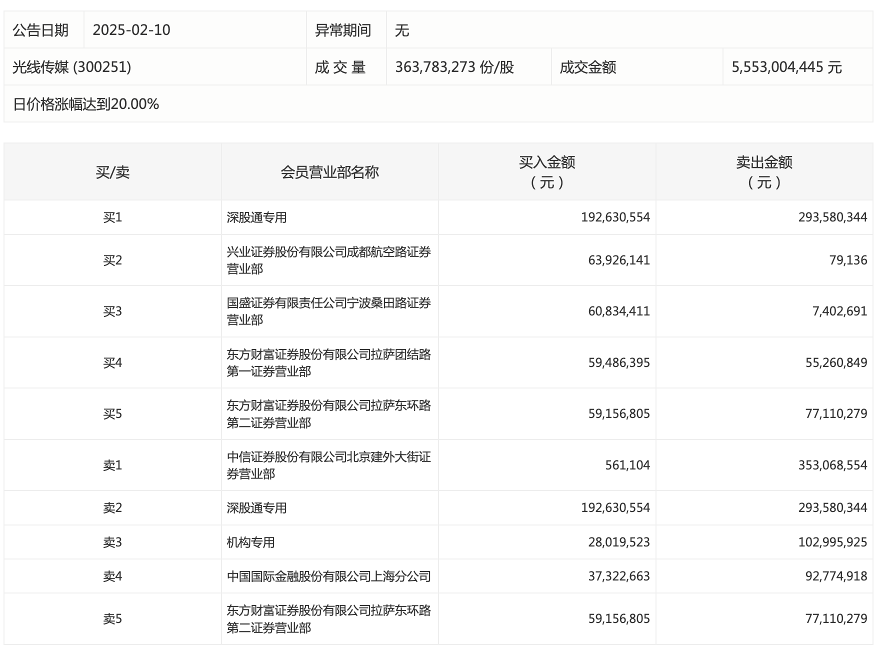
  光线传媒今日涨停,盘后数据显示,一机构买入2801.95万元,卖出1.03亿元,合计净卖出7497.64万元。知名游资现身龙虎榜,国盛证券有限责任公司宁波桑田路证券营业部净买入5343.17万元。此外,深股通专用、兴业证券成都航空路证券营业部分别买入1.93亿元、6392.61万元;中信证券北京建外大街证券营业部、深股通专用分别卖出3.53亿元、2.94亿元。

(文章来源:第一财经)

文章来源:第一财经 责任编辑:98
原标题:光线传媒今日涨停,一机构净卖出7497.64万元
郑重声明:东方财富发布此内容旨在传播更多信息,与本站立场无关,不构成投资建议。据此操作,风险自担。
举报
分享到微信朋友圈

打开微信,

点击底部的“发现”

使用“扫一扫”

即可将网页分享至朋友圈

扫描二维码关注

东方财富官网微信


扫一扫下载APP

扫一扫下载APP
信息网络传播视听节目许可证:0908328号 经营证券期货业务许可证编号:913101046312860336 违法和不良信息举报:021-61278686 举报邮箱:jubao@eastmoney.com
沪ICP证:沪B2-20070217 网站备案号:沪ICP备05006054号-11 沪公网安备 31010402000120号 版权所有:东方财富网 意见与建议:4000300059/952500