成都国星宇航科技股份有限公司(下称“国星宇航”)近期正式向港交所递交上市申请,国泰君安国际为独家保荐人。若国星宇航最终登陆港交所,其将有望成为港股“商业航天第一股”。
需要注意的是,国星宇航作为一家将商业航天和AI技术深度融合的科创企业,其上市之路伴随着营收的快速增长,以及亏损的快速扩大。结合目前多家A股商业卫星上市公司盈利能力欠佳的现状,引发市场对商业航天企业盈利前景的关注。
成立近七年市场估值飙升6742%
《科创板日报》记者注意到,国星宇航从2018年成立起,便致力于构建天地一体化AI基础设施,进行商业卫星星座建设并提供服务。其在成立仅4年的时间里,就通过开发AI有效载荷,验证了在太空复杂环境下的星上AI技术应用能力。
该公司创始人、董事长兼执行董事均为陆川,其于2006年7月获得电子科技大学通信与信息工程学院通信工程工学学士学位后继续深造,于2018年6月获得中国广东工业大学控制科学与工程学工学博士学位。
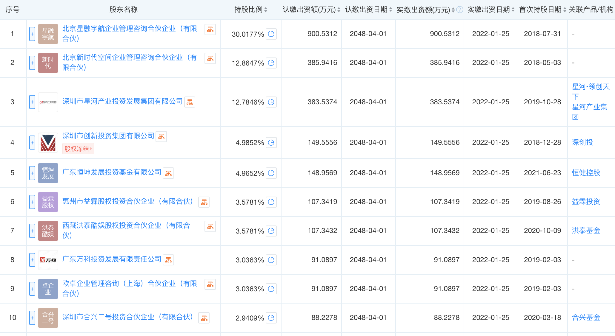
陆川拥有近20年的人工智能、航天及通信工程研究经验,为国家高层次人才特殊支持计划入选者,其在国星宇航的最终受益股份为14.9738%。

(图:工商信息显示的国星宇航前十大股东)
国星宇航赴港招股书显示,截至最后可行日期,该公司与合作伙伴共同开发了6颗统遥感卫星及1颗AI应用卫星;亦自主开发了6颗AI有效载荷、4颗AI应用卫星及4颗AI智算卫星。总共成功完成13项太空任务。
陆川还提出“星算计划”,一项由2800颗算力卫星组网,构建未来算力网络的计划。该公司也于2024年9月24日发射了全球首颗AI大模型科学卫星,成功完成卫星在轨运行AI大模型技术验证,“星算计划”进入实质性建设阶段。
与大部分民营商业航天企业一样,国星宇航受到资本市场青睐的同时,但其发展也相对依赖外部融资。招股书显示,国星宇航自2018年5月成立以来,截至2024年末,共进行了9轮融资。
其于2019年1月完成的天使轮融资,投资方包括电子科技大学旗下的成都电科、深创投和星河·领创天下;其于2023年末和2024年末完成的两次融资,为历次融资中金额最大的,分别达到5.2亿元和5.37亿元。
值得注意的是,其于2023年末完成的该轮融资,由洪泰基金领投,泰山城建集团、青岛海发集团、嘉兴嘉秀集团、策源资本、芜湖产投跟投。
而洪泰基金为俞敏洪和华泰联合证券的首任董事长盛希泰于2014年共同创立。工商信息显示,盛希泰目前也在国星宇航任职董事。除此之外,其他几家此轮跟投的机构均为国有资本或国资控股。
招股书披露的融资历程显示,随着该公司的快速发展,国星宇航投后估值也从最早的9500万元,增长到截至2024年末的逾65亿元。换而言之,国星宇航在成立不到7年的时间里,市场估值飙升了6742%。

(图:国星宇航招股书披露的融资历程)
近三年亏损持续扩大
但与该公司融资额度、市场估值同时飙升的,还有其亏损程度。
招股书显示,2022年至2024年前三季度各期期末,国星宇航的营业收入分别为1.77亿元、5.08亿元、2.37亿元,净亏损分别为9090.7万元、1.39亿元、2.14亿元。不到三年的时间里亏损超4亿元,且亏损幅度逐年持续扩大。
对于相关原因,国星宇航在招股书中表示,主要是该公司处于早期爬坡阶段,在研发并发射AI卫星的同时,亦专注于开发核心技术以提升自身的AI算法及算力。

(图:国星宇航招股书披露的经营业绩指标)
按业务结构来看,国星宇航的收入主要来自星基解决方案、卫星及相关服务等。其中,星基解决方案是第一大主营业务收入。2022年至2024年前三季度各期期末,该公司的星基解决方案收入分别为1.03亿元、4.60亿元、1.93亿元,占其总收入比例分别为58.0%、90.7%、81.5%。

(图:国星宇航招股书披露的收入类别)
上述同一报告期内,国星宇航的综合毛利率波动较大,分别为25.4%、14.0%、18.2%、25.9%。国星宇航称,由于该公司处于获客早期阶段,向客户出售卫星产生较高生产成本,因此毛利率出现波动。
“我们的卫星及相关服务的销售成本相对较高,主要因为使用航天级元件作为卫星材料,并且支付了大量发射成本。”国星宇航在招股书中提到,“在我们发展的早期阶段,采用单卫星销售模式,导致生产成本高于磋商的项目价值。加上现阶段的定价灵活性有限,导致卫星价格相对适中。”
《科创板日报》记者从接近国星宇航的市场人士处了解到,该公司的盈利模式或主要为直接售卖和租赁卫星与服务。“一般基础版卫星价格在200万元左右,加上卫星功能和不同种类的服务,价格会更高。不少客户也会选择租赁的形式,且其客户也多为各地政府和大型机构。”
该市场人士进一步称,“购买卫星会涉及到后续的折旧和重复利用率问题。加之卫星在轨道运行其实会有磨损损失,使用期限问题也会抬高隐形成本。”
商业航天企业盈利面临多个“堵点”
需要注意的是,近年来,我国商业航天迎来快速发展时代,产业链日趋成熟。但从多家主营业务为卫星制造及其服务的A股上市公司业绩来看,产业链企业也存在盈利能力有待提升的问题。
中国卫星预计2024年年度归母净利润为2283万元至3413万元,同比下降85.51%至78.33%;中国卫通2024年前三季度的营业收入为17.58亿元,同比下降5.57%,归母净利润为4.81亿元,同比增长18.42%。
北斗星通主要从事卫星导航定位产品的研发、生产、销售和服务。其2024年前三季度营业收入为10.63亿元,同比下降66.17%;归母净利润为-6366.35万元,同比下降361.92%。
上海瀚讯是G60卫星载荷供应商,参与卫星通信载荷、地面站、地面终端等核心环节。其2024年前三季度营业收入为1.76 亿元,同比下降18.38%;归母净利润为-9129.53万元,亏损较2023年同期扩大。
“目前民营商业航天企业会遇到盈利更难的问题。”中国民营科技实业家协会新质生产力工委秘书长高泽龙向《科创板日报》记者表示,目前中国商业航天市场尚处于发展初期,市场成熟度不足,需求不确定性较大,这导致民营企业在市场拓展和客户服务方面面临较大挑战,难以形成稳定的收入来源。
“目前中国商业航天产业链正逐步完善,但上下游企业之间协同效应仍待进一步提升。这导致民营企业在采购原材料、零部件和服务时面临较高成本,难以形成显著的成本优势。”高泽龙称。
有商业航天领域相关投资人也向《科创板日报》记者表示,目前影响我国商业航天技术进步的“堵点”包括卫星重复利用率低、有效载荷有限等问题,短期内形成规模经济和范围经济效应的难度较大,产业链上下游实现全链条发展的局面尚需一定时间。
(文章来源:科创板日报)