1月23日,上证指数、深证成指、创业板指、科创50指数早盘冲高回落,午后一度回升,随后震荡回落。截至收盘,上证指数报3230.16点,涨0.51%,成交额5398.01亿元;深证成指报10176.17点,跌0.49%,成交额8154.84亿元;创业板指报2093.31点,跌0.37%,成交额3878.34亿元;科创50指数报966.11点,跌0.95%,成交额1088.34亿元。沪深两市合计成交13552.85亿元,成交额较上一交易日增加2194.3亿元。
盘面上来看,行业板块、概念跌多涨少。其中,银行、保险、证券、房地产、教育、传媒等行业涨幅靠前;智谱AI、拼多多、转基因、财税数字化、粮食、光伏高速公路等概念走势活跃。通信、电子、国防军工、有色金属、汽车、电力设备、轻工制造、钢铁、化工等行业跌幅居前;刀片电池、全息技术、PCB、AI眼镜、民爆概念、玻璃基板、电子纸、铜缆高速连接、存储芯片等概念走势较弱。涨停个股主要集中在机械设备、汽车、房地产等行业。
个股涨跌情况,截至收盘,沪深两市合计2218只个股上涨,2653只个股下跌,平盘个股252只,停牌的个股7只。不含当日上市新股,共有46只个股涨停,31只个股跌停。
从收盘涨停板封单量来看,华联股份最受追捧,收盘涨停板封单有6247.45万股;其次是ST新潮、天茂集团、上海电气、德联集团、新亚电子等,涨停板封单分别有5483.84万股、2952.78万股、1900.63万股、1707.17万股、1286.51万股。
以涨停板封单金额计算,7股封单金额超1亿元。其中,新亚电子涨停板封单资金最多,涨停板封单资金为2.33亿元;其次是友邦吊顶、华联股份、上海电气、ST新潮、天茂集团等,涨停板封单资金分别为2.16亿元、2.13亿元、1.49亿元、1.49亿元、1.28亿元。

从续涨停天数来看,*ST信通连收9个涨停板,连续涨停板数量最多;其次是*ST摩登8连板;电光科技、兴业股份均5连板;冀东装备、华联股份、ST新潮均4连板;晋拓股份3连板;汇源通信、天茂集团、华软科技、新亚电子、新炬网络、友邦吊顶均2连板。
沪深两市主力资金净流出242.18亿元 8个行业主力资金呈现净流入
Wind统计显示,沪深两市主力资金今日净流出242.18亿元。其中,创业板主力资金净流出90.02亿元,沪深300成份股主力资金净流出98.33亿元,科创板主力资金净流出24.26亿元。
从行业来看,申万所属的31个一级行业,今日有8个行业主力资金呈现净流入,其中,银行业主力资金净流入最多,净流入金额为9.98亿元;行业主力资金净流入居前的还有非银金融、房地产、轻工制造等,净流入金额分别为7.13亿元、5.91亿元、2.71亿元。23个行业主力资金呈现净流出,其中,电子行业主力资金净流出最多,净流出金额为109.29亿元;行业主力资金净流出靠前的还有通信、计算机、汽车、机械设备、有色金属等,净流出金额分别为51.07亿元、27.35亿元、16.19亿元、14.22亿元、13.18亿元。

40股获主力资金净流入超亿元尾盘主力资金抢筹华联股份等
个股来看,今日有2096只个股获主力资金净流入,其中,40股获主力资金净流入超1亿元。上海电气获主力资金净流入最多,净流入金额为15.38亿元;主力资金净流入居前的个股还有汉得信息、富岭股份、海能达、蔚蓝锂芯、中粮资本等,净流入金额分别为7.8亿元、6.74亿元、4.9亿元、4.32亿元、3.89亿元。
从尾盘主力资金净流入来看,有15股获尾盘主力资金净流入超3000万元,其中,华联股份尾盘主力资金净流入最多,净流入金额为1.28亿元;其次是海康威视、上海电气、永辉超市、京东方A、招商轮船、华林证券等,尾盘主力资金净流入均超5000万元。

91股被主力资金净卖出超亿元
今日有3020只个股被主力资金净卖出,其中,91股被主力资金净卖出超1亿元。主力资金净流出最多的个股是中兴通讯,净流出金额为17.57亿元;主力资金净流出居前的个股还有工业富联、中芯国际、东方财富、中际旭创、兆易创新等,净流出金额分别为10.96亿元、8.53亿元、7.54亿元、6.01亿元、5.53亿元。
从尾盘主力资金净卖出来看,有18股被尾盘主力资金净卖出超5000万元,其中,尾盘主力资金净流出最多的个股是工业富联,净流出金额为1.53亿元;其次是方正科技、兆易创新、寒武纪、建设工业、同花顺等,尾盘主力资金净流出均超8000万元。

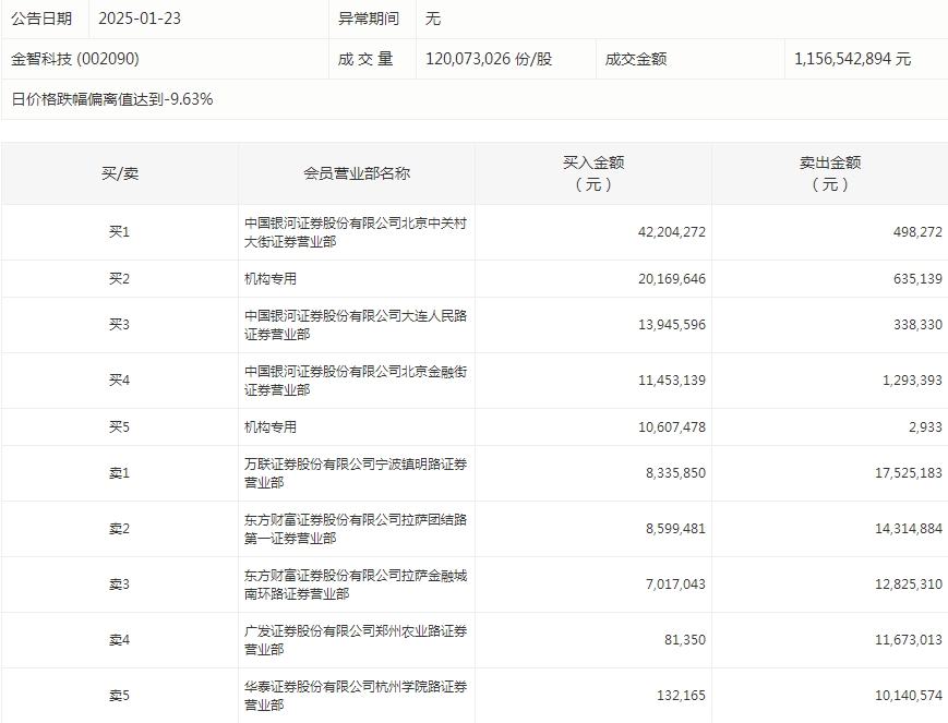
龙虎榜机构净买入8股金智科技居首
盘后龙虎榜数据显示,今日机构席位资金合计净卖出约7621.84万元。其中,净买入的个股8只,净卖出的个股6只。机构净买入最多的股票是金智科技,净买入金额约3013.91万元;机构净买入居前的还有瀛通通讯、广合科技、豆神教育等。机构净卖出最多的股票是汇洲智能,净卖出金额约9247.44万元;机构净卖出居前的还有华联股份、富岭股份等。

金智科技今天跌停。盘后数据显示,2家机构出现在龙虎榜单上,合计净买入3013.91万元;中国银河证券股份有限公司北京中关村大街证券营业部买入4220.43万元,同时卖出49.83万元;万联证券股份有限公司宁波镇明路证券营业部买入833.59万元,同时卖出1752.52万元。

(文章来源:证券时报网)