1月23日,证监会主席吴清在国新办新闻发布会上表示,引导上市公司给投资者过年发红包,春节前两月有约310家上市公司实施“春节分红”3400多亿元。
1月22日,中央金融办、中国证监会等六部门联合印发《关于推动中长期资金入市工作的实施方案》。其中提到,优化资本市场投资生态。引导上市公司加大股份回购力度,落实一年多次分红政策。
吴清指出,在资产端将增强基本建设,着力推动上市公司质量和投资价值。去年制定了上市公司的市值管理规则,回购增持、分红等政策,去年全年上市公司分红有2.4万亿元,多次分红企业不少,有条件的企业九成实现了分红,预计会有超过310家公司在春节前分红,将是去年同期家数9倍。
证监会数据显示,2024年,上市公司实施分红2.4万亿元,创历史新高。从上市公司分红金额来看,2024年内共有34股分红超百亿元。
其中,工商银行为年内分红金额最高个股,为1092.03亿元,建设银行紧随其后,分红金额为1000.04亿元。中国移动排在第三位,分红金额为978.44亿元。中国石油、农业银行分红金额均超八百亿元,位列第四、第五。
中国银行和贵州茅台分红金额分别为695.93亿元、687.87亿元,位列第六、第七。排名第八至第十位的个股分别为中国海油、招商银行和中国神华。
南财快讯记者注意到,近期,多家公司在春节前派发“过节红包”。
Wind数据显示,2025年1月1日—1月21日,实施分红的上市公司多达142家,而2023年同期则仅有5家。
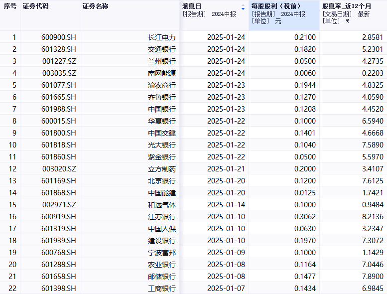
据沪深交易所最新数据统计,截至1月20日,沪深两市2024年计划中期分红金额合计约6954亿元。例如,1月23日,中国银行超过355亿元的现金红利将发放给投资者,其中A股对应金额254.6亿元。

A股部分2024年中期分红公司,来源:同花顺iFinD
(声明:文章内容仅供参考,不构成投资建议。投资者据此操作,风险自担。)
(文章来源:21世纪经济报道)