A股上市公司并购拟IPO企业渐成趋势。
1月16日晚间,奥浦迈发布公告称,正在筹划拟以发行股份及支付现金的方式,购买澎立生物医药技术(上海)股份有限公司(简称“澎立生物”)的控制权,同时募集配套资金,本次交易预计构成重大资产重组。公司股票自1月17日开市起停牌,预计停牌时间不超过5个交易日。
记者发现,澎立生物主营业务为提供生物医药临床前研究CRO服务,曾拟冲刺科创板上市。奥浦迈则于2022年9月2日登陆科创板,主营业务包括细胞培养基产品和CDMO服务。若此次交易顺利实施,澎立生物将借道并购进入A股市场。

来源:奥浦迈公告
奥浦迈筹划收购拟IPO公司控股权
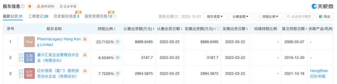
公告显示,奥浦迈本次发行股份及支付现金购买资产的主要交易对方包括PharmaLegacy Hong Kong Limited、嘉兴汇拓企业管理合伙企业(有限合伙)、嘉兴合拓企业管理合伙企业(有限合伙)等澎立生物公司股东。
据天眼查,PharmaLegacy Hong Kong Limited系澎立生物控股股东,持股比例为23.72%;嘉兴汇拓、嘉兴合拓为澎立生物员工持股平台,持股比例分别为8.50%、3.00%。

来源:天眼查
奥浦迈表示,本次交易的具体方案将由交易各方另行签署正式协议予以约定。
记者注意到,“并购六条”等政策发布后,越来越多的拟IPO企业选择“联姻”上市公司,走上了被并购之路。
此次交易中,奥浦迈筹划收购的澎立生物原先也是一家拟IPO公司。此前,澎立生物曾计划在科创板上市,拟募资6.01亿元。2023年3月27日,公司科创板IPO获上交所受理。一轮问询之后,2024年2月5日,澎立生物、公司保荐机构海通证券撤单,IPO终止。
标的公司获红杉、高瓴力挺
招股书(申报稿)显示,澎立生物是一家提供生物医药临床前研究CRO服务的企业。截至招股书发布日,澎立生物已为全球超过700家客户提供研发服务,既包括全球性制药企业、生物科技公司,也包括国内创新研发型医药企业及知名药企、医疗器械公司等。
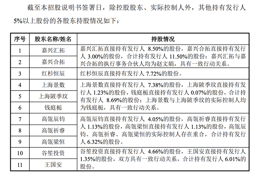
澎立生物股东榜可谓星光熠熠,云集了国内外十多家私募股权投资基金。其中,红杉中国、高瓴资本旗下多家机构现身。红杉恒辰直接持有公司7.72%的股份,位居公司第三大股东;高瓴辰钧、高瓴祈睿、高瓴梁恒合计持有公司6.32%的股份,其中高瓴辰钧以4.05%的持股,位居公司第七大股东。

来源:澎立生物招股书
值得注意的是,在2021年—2022年迎来高瓴系、红杉系资本入局后,澎立生物估值实现了11.10亿元至32.20亿元的飞跃。
截至招股书发布日,澎立生物共进行了9次增资、6次股权转让。在2021年8月的第5次增资中,高瓴辰钧开始入局,以6000万元认缴新增注册资本约303.91万元,对应公司投后估值为12亿元。2个月后的2021年10月,红杉恒辰参与的第5次股权转让,将澎立生物的估值拔高到20亿元;2021年10月,红杉恒辰、高瓴祈睿、高瓴梁恒合计投入1.95亿元,澎立生物估值达到22.65亿元。2022年3月,红杉恒辰参与公司第8次增资,澎立生物估值增长至32.20亿元。
产业并购助力CDMO业务升级
2019年至2021年,澎立生物主营业务收入持续增长,并主要由药物临床前CRO服务收入、医疗器械临床前CRO服务收入及实验动物销售收入构成,营业收入分别为6780.55万元、1.11亿元、1.93亿元;归母净利润分别为786.14万元、1452.82万元、3740.31万元。2022年1—9月,澎立生物营业收入约1.80亿元,归母净利润为3953.30万元。
在业界看来,此次交易在助力澎立生物实现“曲线上市”的同时,也有望助力奥浦迈拓展在CDMO业务的协同布局。
奥浦迈此前接受调研时表示,公司募投项目之一“CDMO生物药商业化生产平台”已于2024年试运行正式投入使用。公司CDMO业务已经拥有承接临床三期及后期商业化服务的能力,服务范围已补充完整。
“目前来看,在现行市场环境下,CDMO业务终端价格承压比较大是普遍存在的情况。CDMO行业现阶段处于出清的过程中,只有不断通过提升自身工艺以及内部运营效率,才能够在这个激烈竞争的市场中活下来。”奥浦迈表示。

来源:奥浦迈公告
2024年前三季度,奥浦迈实现营业收入2.16亿元,同比增长25.73%;归母净利润为2723.48万元,同比下降36.93%。其中,CDMO服务收入同比下降了39.05%。

来源:奥浦迈2024年三季报
“在2024年,生物技术领域的发展面临着复杂的挑战。整体而言,生物医药行业资金筹集难度较大,导致部分关键项目不得不暂停或取消,这对CDMO的收入造成了显著影响,与2023年同期相比,收入水平出现了明显的下滑。”对于CDMO业务收入下滑原因,奥浦迈解释称。
作者:何昕怡
(文章来源:上海证券报)