小米申请注册多枚U系列商标
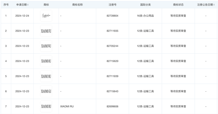
天眼查知识产权信息显示,近日,小米科技有限责任公司申请注册“XIAOMI FU”“XIAOMI WU”“XIAOMI OU”“XIAOMI MU”“XIAOMI GU”“XIAOMI RU”商标,国际分类为运输工具,当前商标状态均为等待实质审查。

(文章来源:界面新闻)
天眼查知识产权信息显示,近日,小米科技有限责任公司申请注册“XIAOMI FU”“XIAOMI WU”“XIAOMI OU”“XIAOMI MU”“XIAOMI GU”“XIAOMI RU”商标,国际分类为运输工具,当前商标状态均为等待实质审查。

(文章来源:界面新闻)